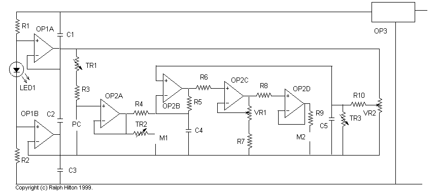
Here is the new circuit:
The circuit is based on the wheatstone bridge. The 2 op amps in OP1 supply a stable voltage for the bridge. This op amp isn't critical. Most will work fine. The second op amp is critical and the specified type should be used as a slight distortion in needle movement has been found with cheaper components.
M1 is a 100 - 500 µA meter movement which shows the TA position. It should be marked with a scale from 1 to 6.5. This means that there is no need for a calibrated TA scale and the TA pot can be external as shown in the photo below.
M2 is a 500µA movement. Other values could be used and R9 adjusted accordingly. A centre zero movement is preferable.
The trimmer pots should be good quality 22 turn as cheaper ones can cause false D/Ns.
The circuit can be powered from 4 AA cells or a single PP9 battery.
For simplicity power connections to the op amps aren't shown on the above diagram - these do need to be made.
To calibrateTR2 should be adjusted so that with the PC unconnected the TA dial shows 6.5. (The needle of the TA dial is positioned 1/20th of a division to the left of 1 on the scale with the meter off).
TR1 is then adjusted to read at 3 on the TA dial with a 12.5k resistor across the leads.
TR3 is adjusted so that the needle is at set with the TA pot turned all the way clockwise and the PC unconnected.
Component values:
R1,2,4,10 | 22k |
R3 | 18k |
R5 | 47k |
R6,8 | 10k |
R7 | 1.5k |
R9 | 470 |
C1,2,3 | 100µF electrolytic |
C4,5 | 0.0047µF |
TR1 | 10k preset |
TR2 | 20k preset |
TR3 | 100k preset |
LED1 | red LED 3mm |
OP1 | TL062 |
OP2 | OP420 or OP490 |
OP3 | 5 volt regulator (low current) |
M1 | 100 - 500 µA movement |
M2 | 500µA movement |
VR1 | 50k cermet or wirewound |
VR2 | 20k wirewound |
There is a suggested layout for the meter using stripboard on a separate page as its easier to print out.
Here is a photo of a completed board. The layout diagram was revised after the photo so it doesn't match exactly:
And a completed meter (This was the first one - I'll be producing later ones with 2 of the larger dials):