![]() |
|
``By itself, this meter does nothing.'' -- Excerpt from a disclaimer found in every E-meter book, and on the device itself.
In this photo, a course supervisor monitors the
performance of student auditors at a Scientology training facility.
Notice that the meter's tone arm is worked with the thumb of the left
hand; the right hand is used to take notes. Left-handed auditors must
purchase a left-handed E-meter, where the positions of the dials and
knobs are reversed.
This photo from the St. Petersburg Times shows an E-meter with the
optional remote tone arm to the left.
The two "cans" in the photo are joined together by a plastic insulator insert, allowing both to be held in one hand for solo auditing. This type of auditing is practiced only on the most advanced (and most expensive) Scientology levels, namely, OT III and Solo NOTs (New Era Dianetics for Operating Thetans.)
The remote tone arm attachment, sitting to the left of the meter, is
used in solo auditing. The person holds the cans in one hand and uses
their other hand both to take notes and to work the large knurled knob
on the left side of the remote. The knob is geared to the dial on the
front of the remote, so moving one also moves the other.
Alternatively, the person could move the front dial with their pen.
What is metered auditing really like? Robert Kaufman spills the beans in his book Inside Scientology/Dianetics, which the Scientology organization tried to suppress.
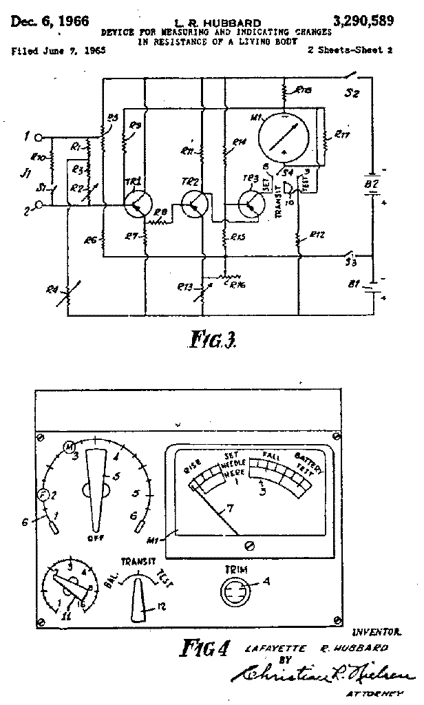
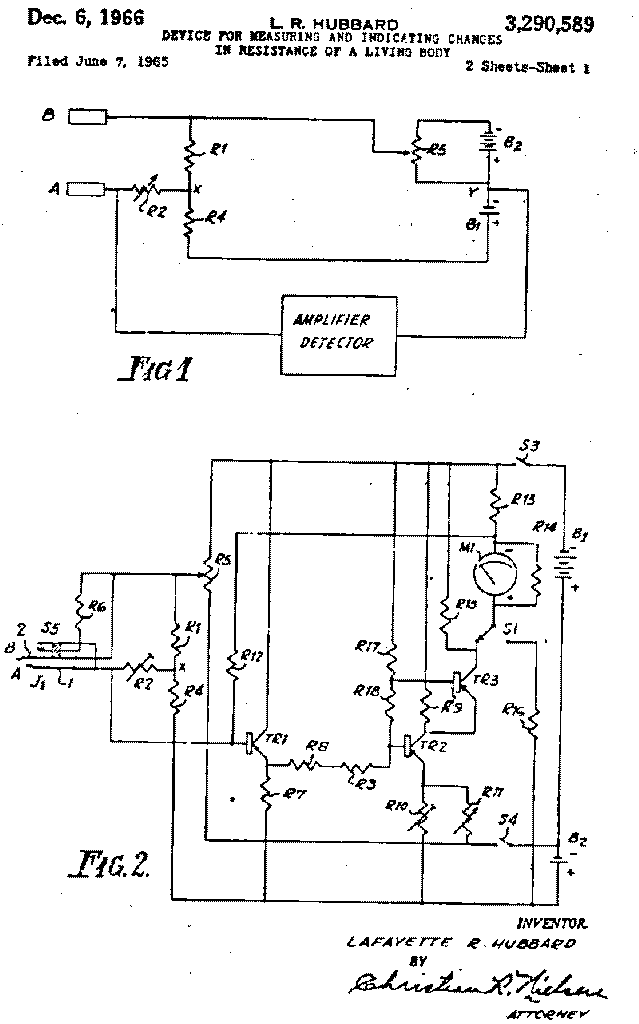
L. Ron Hubbard's patent application
for the E-meter (courtesy of Bill de Carle).
And here is the
Page 1 and
Page 2
Homer Wilson Smith's design for a Mark V E-meter.
FreeZone E-meter schematics
from Ralph Hilton's tech
page. Ralph is also working on a new design with a USB interface,
called the C-Meter.
The Starlight meter is an E-meter
knockoff offered by a Russian "independent Scientologist"
(FreeZoner).
Ability Meters International,
a FreeZone group, sells their own version of the E-meter, which looks
a lot like the Mark V.
Mathison also marketed a cheaper Mathison Quiz Meter and a manuscript
on "Electropsychometry" by L. Ron Hubbard and himself. Here
is an excerpt.
The St. Petersburg Times reports it takes only 80 minutes to put one together, as the technician shown at left is doing.
And for this they charge over $4,000???
Click here for a guided tour of the Mark Super VII..Until the release of the Mark VII Quantum model in 1996, the Hubbard Professional Mark Super VII was the latest (mid-1980s) and most sophisticated model E-meter sold. Scientology doesn't want anyone looking too closely at their "advanced" technology, but this web page offers you a guided tour of the device, with exterior and interior views including the main circuit board, charging circuit, jacks, and data plate. "Hey, it's got Intel inside!"
Here is US Patent 8,121,676 detailing some recent (circa 2003) advances in E-meter technology. Interestingly, Hubbard is listed as an inventor, although he died in 1986.
The Mark VIII Ultra
E-Meter shown at left (click
for larger version), was manufactured in Japan in 2004, on a
production line that once made Sony Walkmans. It was finally released in
November of 2013.
Some folks think the new meter looks a lot like the
Easy Bake oven, a popular kid's toy.
Here's a drawing of the meter that came out several
years before its release. Look at those cans! The TA counter is
visible behind the dark plastic wedge at the top center of the meter.
This is Russ Bellin's baby. Too bad he stuck with an old-style serial
port connector instead of putting in a USB port. Those all had to be
replaced before the meter was finally released.
There were 20,000 of these white elephants sitting in the Bandini
warehouse in Los Angeles, awaiting the day when DM decided to release
them to the world. That day finally came in November 2013.
For more juicy background details on the meter, read this and this and this.
Here is US Patent #6011992, System
for Measuring and Indicating Changes in the Resistance of a Living
Body, which covers the Mark VIII Ultra and perhaps some of its
predecessors.

Here's the book description from the Church of Scientology's own web site: "Is
the theta being inside or outside the mest body or both? How big is a
theta being in relation to his body?" The answers aren't very
convincing, but it's unusual to see Scientologists even asking
loopy questions like this in front of raw public, much less purporting
to answer them. Bottom line: $50 buys you a load of comic book
physics and a revealing look at what constitutes a "scientific
explanation" in the cult of Scientology.