Build Your Own E-Meter

The circuit shown below is for a dual dial version. Just leave out TR2 and M1 for a single dial meter.

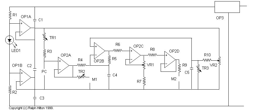
Here is the new circuit:

The circuit is based on the wheatstone bridge. The 2 op amps in OP1 supply a stable voltage for the bridge. This op amp isn't critical. Most will work fine. The second op amp is critical and the specified type should be used as a slight distortion in needle movement has been found with cheaper components.

M1 is a 100 - 500 µA meter movement which shows the TA position. It should be marked with a scale from 1 to 6.5. This means that there is no need for a calibrated TA scale and the TA pot can be external as shown in the photo below.

M2 is a 500µA movement. Other values could be used and R9 adjusted accordingly. A centre zero movement is preferable.

The trimmer pots should be good quality 22 turn as cheaper ones can cause false D/Ns.

The circuit can be powered from 4 AA cells or a single PP9 battery.

For simplicity power connections to the op amps aren't shown on the above diagram - these do need to be made.

To calibrateTR2 should be adjusted so that with the PC unconnected the TA dial shows 6.5. (The needle of the TA dial is positioned 1/20th of a division to the left of 1 on the scale with the meter off).

TR1 is then adjusted to read at 3 on the TA dial with a 12.5k resistor across the leads.

TR3 is adjusted so that the needle is at set with the TA pot turned all the way clockwise and the PC unconnected.

Component values:
 
R1,2,4,10 22k
R3 18k
R5 47k
R6,8 10k
R7 1.5k
R9 470
C1,2,3 100µF electrolytic
C4,5 0.0047µF
TR1 10k preset
TR2 20k preset
TR3 100k preset
LED1 red LED 3mm
OP1 TL062
OP2 OP420 or OP490
OP3 5 volt regulator (low current)
M1 100 - 500 µA movement
M2 500µA movement
VR1 50k cermet or wirewound
VR2 20k wirewound

There is a suggested layout for the meter using stripboard on a separate page as its easier to print out.

Here is a photo of a completed board. The layout diagram was revised after the photo so it doesn't match exactly:

And a completed meter (This was the first one - I'll be producing later ones with 2 of the larger dials):